John deere c1200 weed eater 2025
John deere c1200 weed eater 2025, Trimmer Head Spool Retainers for John Deere C1200 Ryobi CS30 2025
$0 today, followed by 3 monthly payments of $14.33, interest free. Read More
John deere c1200 weed eater 2025
Trimmer Head Spool Retainers for John Deere C1200 Ryobi CS30
John Deere S1400 straight shaft gas weed whip. Proxibid
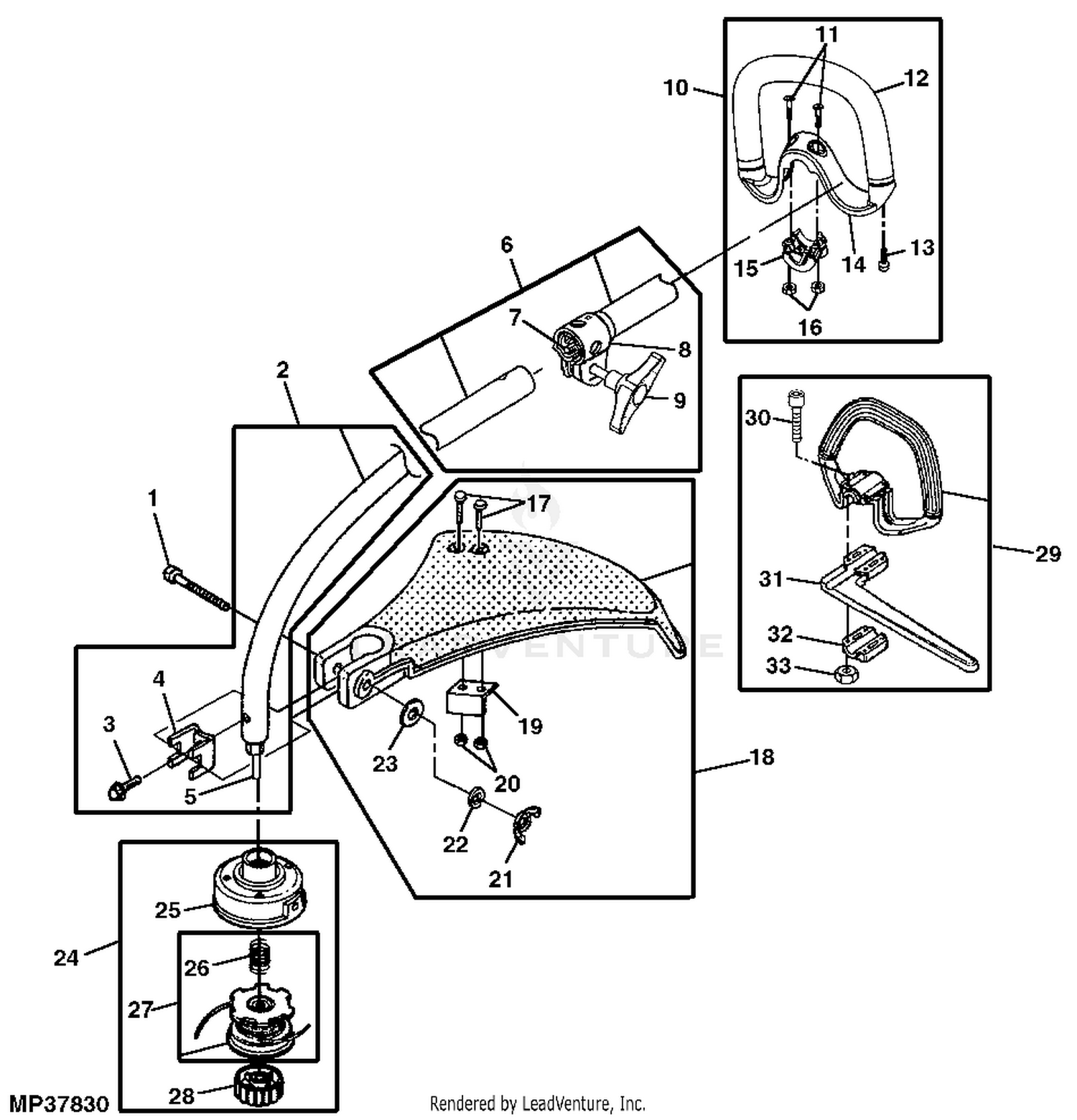
John Deere C1200 RCC200 String Trimmer Brushcutter PC2904 HANDLE
John Deere C1200 weed whip runs m Boat Mowers Golf Cart
John Deere C1200 weed whip runs m Boat Mowers Golf Cart
John Deere C1200 Trimmer Carburetor Repair
aquaklearofnewjersey.com
Product Name: John deere c1200 weed eater 2025John Deere C1200 weed whip runs m Boat Mowers Golf Cart 2025, John Deere C1200 weed whip runs m Boat Mowers Golf Cart 2025, John Deere C1200 Trimmer Carburetor Repair 2025, John Deere weed wacker and tiller eBay 2025, John Deere C1200 Straight Shaft weedeater 2025, Find more John Deere Weed Eater And Edger C1200 Versa Tool for 2025, John Deere C1200 weed whip runs m Boat Mowers Golf Cart 2025, Amazon TOPREPAIR Carburetor for John Deere C1200 S1400 Weed 2025, John Deere C1200 S1400 String Trimmer Weed Wacker Weedeater Engine 2025, Carburetor Replacement for John Deere C1200 S1400 Weed Whacker BC1600 Brush Cutter Carb 2025, JOHN DEERE C1200 STRAIGHT SHAFT STRING TRIMMER for Sale in 2025, Trimmer Bump Head For John Deere C1200 DA 03001 A UP06761 UP04408A 2025, John Deere C1200 RCC200 String Trimmer Brushcutter PC2904 FUEL 2025, Fixing a JOHN DEERE Gas String Trimmer that Wont Start or Run Fuel lines Limiter Adjustment Screws 2025, John Deere C1200 RCC200 String Trimmer Brushcutter PC2904 54 OFF 2025, Bump Head Spool for John Deere C1200 S1400 BC1600 DA98912D DA98912E UP00145 UP04807 UP06762 string trimmer UP06762 UP 00145 UP00147 2025, John Deere C1200 RCC200 String Trimmer Brushcutter PC2904 Fuel 2025, How do I get that wheel off of a John deere line trimmer 2025, Amazon TOPREPAIR Carburetor for John Deere C1200 S1400 Weed 2025, HOMELITE 26B LEAF John Deere Weed Trimmer 2025, Bump Head Spool for John Deere C1200 S1400 BC1600 DA98912D 2025, john deere c1200 string trimmer carburetor oem for rebuild eBay 2025, JOHN DEERE C1200 S1400 String Trimmer Weed Wacker Weedeater Engine 2025, John Deere C1200 RCC200 String Trimmer Brushcutter PC2904 54 OFF 2025, JOHN DEERE C1200 STRAIGHT SHAFT STRING TRIMMER for Sale in 2025, Stens New Trimmer Head Bump Knob 385 637 Compatible Palestine Ubuy 2025, Stens 385 256 String Trimmer Head Homelite ST155 John Deere C1200 2025, Homelite C1200 Trimmer Brushcutter UT 20809 Parts Diagram for 2025, GAS FUEL TANK KIT HOMELITE John Deere C1200 BC1600 C300 BC900 2025, 998265 UP06950 Trimmer Head for John Deere BC1600 C1200 S1400 2025, John Deere C1200 Cold Start Trimmer 2025, BlindSquirrelAuctions Premium John Deere C1200 Deluxe Quick Fire 2025, Trimmer Head Spool Retainers for John Deere C1200 Ryobi CS30 2025, John Deere S1400 straight shaft gas weed whip. Proxibid 2025, John Deere C1200 RCC200 String Trimmer Brushcutter PC2904 HANDLE 2025.
-
Next Day Delivery by DPD
Find out more
Order by 9pm (excludes Public holidays)
$11.99
-
Express Delivery - 48 Hours
Find out more
Order by 9pm (excludes Public holidays)
$9.99
-
Standard Delivery $6.99 Find out more
Delivered within 3 - 7 days (excludes Public holidays).
-
Store Delivery $6.99 Find out more
Delivered to your chosen store within 3-7 days
Spend over $400 (excluding delivery charge) to get a $20 voucher to spend in-store -
International Delivery Find out more
International Delivery is available for this product. The cost and delivery time depend on the country.
You can now return your online order in a few easy steps. Select your preferred tracked returns service. We have print at home, paperless and collection options available.
You have 28 days to return your order from the date it’s delivered. Exclusions apply.
View our full Returns and Exchanges information.
Our extended Christmas returns policy runs from 28th October until 5th January 2025, all items purchased online during this time can be returned for a full refund.
Find similar items here:
John deere c1200 weed eater 2025
- john deere c1200 weed eater
- 4x21 sanding belt home depot
- pls 90 laser
- professional hammer drill
- top rated gas weed eaters
- pushable weed eater
- craftsman 25cc weed eater string
- four cycle weed eater
- huepar laser level 603cg
- leica laser level kit